نوع تقليدي من غربال الهزاز واسعة مجالات التطبيق, دائما لمعالجة الجسيمات المتوسطة أوالدقيقة
20~300t/h
شبكة الغربال بالمطاط المقاوم للبلى
يمكن صنع شبكة الغربال من مطاط شين هاي المقاوم للبلي, قدرتها أكثر من 5 أضعاف من شبكة الغربال الأخرى
سعة الاهتزاز كبيرة و فعالية الغربلة عالية
يمكننا أن نقدم شبكة الغربال بمطاط شين هاي المقاوم للبلي, خدمة حياتها 10-20 ضغفا مما مصنوع بالفولاذ و4-6 أضعاف من البولي يوريثين
خدمة الحياة الطويلة والجلبة الصغيرة
يمكننا أن تقدم شكلين من غربال الاهتزاز: القاعدة والمعلقة
يدور المحرك مع المحور الرئيسي المختلف المركز عبر دفع طنبورة السير
إن هذا غربال الهزاز ذو هذه الخصائص كما
يدور المحرك مع المحور الرئيسي المختلف المركز عبر دفع طنبورة السير
دور المحور الرئيسي المختلف المركز تنتج القوة الاستمرارية الطاردة المركزية وتدفع صندوق الغربال الاهتزاز الدائري
يمكن أن تحفظ علي المسافة المركزية بين طنبورتين السير بسبب ثقب المحور المختلف المركز في طنبورة السير الكبير
مناسب لغربلة الجسيمات المتوسطة أوالدقيقة
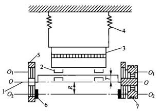
المغزل
كوشنيتي
إطار الغربال
جهاز تعليق الزنبرك
عجلة متحيزة
مغزل غريب الأطوار
بكرة الحزام